Nombre Parcourir:0 auteur:Éditeur du site publier Temps: 2025-03-20 origine:Propulsé
Saviez-vous qu'une machine CNC à 5 axes peut créer des pièces très complexes avec une précision incroyable? Comprendre le système de coordonnées CNC à 5 axes est la clé pour déverrouiller cette capacité.
Dans la fabrication moderne, les machines CNC jouent un rôle essentiel dans la production de pièces dans des industries comme l'aérospatiale, l'automobile et le médical.
Dans cet article, nous explorerons comment fonctionne le système de coordonnées CNC à 5 axes et pourquoi il est si important pour une production précise et efficace.

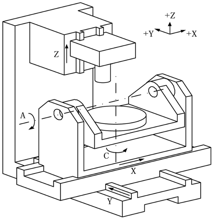
Le système de coordonnées CNC à 5 axes fait référence à la capacité d'une machine CNC à déplacer un outil de coupe le long de cinq axes différents. Cela permet la fabrication précise de pièces complexes. Contrairement aux systèmes CNC traditionnels, qui fonctionnent généralement sur trois axes, le système à 5 axes comprend deux axes de rotation supplémentaires, améliorant la flexibilité et la précision.
Les axes x, y, z représentent les trois mouvements linéaires principaux:
Axe X : déplace l'outil de gauche à droite.
Axe Y : déplace l'outil d'avant en arrière.
Axe Z : déplace l'outil de haut en bas.
Ces axes sont essentiels pour le mouvement de base de la machine et sont les bases de coupes plus complexes.
Dans un système CNC à 5 axes , l'outil est non seulement capable de se déplacer linéairement, mais peut également tourner autour de deux axes supplémentaires:
Axe A : tourne l'outil autour de l' axe X.
Axe b : tourne l'outil autour de l' axe y.
Ce mouvement de rotation permet à l'outil d'approcher la pièce sous différents angles, ce qui rend possible des coupes complexes sans repositionner la pièce.
Dans un système CNC à 5 axes , les cinq axes - X, Y, Z, A et B - Travail à l'unisson. La machine peut faire pivoter la pièce tandis que l'outil reste fixe, permettant des coupes détaillées sous plusieurs angles. Cette synergie est cruciale pour créer des géométries et des pièces complexes qui seraient difficiles à réaliser avec seulement trois axes.
Le système CNC à 5 axes améliore considérablement la précision, permettant des coupes très détaillées et des géométries complexes. En déplaçant l'outil de coupe le long de cinq axes, il réduit les erreurs qui peuvent se produire avec des systèmes à 3 axes plus simples. Cette capacité est particulièrement importante lorsque vous travaillez avec des pièces complexes qui nécessitent des tolérances étroites, telles que les lames de turbine ou les implants médicaux.
Avec la capacité d'approcher la pièce sous différents angles, le système à 5 axes garantit que les coupes sont plus précises, minimisant le besoin de retouches et améliorant la qualité globale des pièces.
L'un des principaux avantages du système à 5 axes est sa capacité à réduire le temps d'installation. Dans l'usinage traditionnel, les pièces complexes nécessitent souvent des configurations multiples pour être repositionnées manuellement. Cependant, la machine à 5 axes peut effectuer des coupes multi-angles sans déplacer la pièce, réduisant le besoin de réglages longs.
Moins d'installations signifient une efficacité accrue et des temps de production plus rapides, ce qui est essentiel dans les industries où le temps et le coût sont des facteurs critiques, tels que la fabrication aérospatiale et automobile.
Le système de coordonnées CNC à 5 axes est parfait pour usiner des pièces complexes qui nécessitent plusieurs angles et une haute précision. Des composants comme les pièces aérospatiales , Gears et les outils médicaux bénéficient de la capacité de la machine à gérer les formes complexes et les tolérances serrées. Le système permet de couper sous différents angles sans repositionner la pièce, améliorant la précision et réduisant le temps de production.
Par exemple, des pièces comme les lames de turbine dans l' industrie aérospatiale nécessitent des coupes précises, qui sont facilement réalisées avec des machines CNC à 5 axes.
Les machines CNC à 5 axes sont essentielles pour créer des moules et des outils, où la précision et les formes complexes sont nécessaires. Dans la fabrication de moisissures, la possibilité de faire pivoter la pièce à plusieurs angles garantit que des caractéristiques complexes peuvent être ajoutées aux moules, telles que des sous-dépouilles ou des textures détaillées. Le système à 5 axes améliore la capacité de produire des moules précis et précis pour des industries comme le moulage par injection automobile et plastique.
Le système CNC à 5 axes est souvent utilisé dans le prototypage et la personnalisation, permettant aux fabricants de produire rapidement des pièces personnalisées. Que ce soit pour les pièces ponctuelles ou les petites exécutions de production, la flexibilité des machines à 5 axes aide à créer des prototypes qui répondent aux spécifications exactes. Les industries comme Medical et l'automobile bénéficient grandement de cette capacité à concevoir et à modifier rapidement les pièces.
Pour maximiser les avantages de l'usinage à 5 axes , il est essentiel d'assurer des configurations précises. Voici quelques conseils:
Vérifiez régulièrement l'étalonnage de la machine pour assurer la précision.
Utilisez un correctif approprié pour sécuriser la pièce, minimisant les erreurs.
Optimisez les chemins de coupe à l'aide du logiciel CAO et CAM pour réduire les temps de cycle et améliorer la précision. L'intégration des logiciels aide à générer des chemins d'outils efficaces, en veillant à ce que la machine se déroule en douceur.
En se concentrant sur des configurations précises et une programmation machine efficace, vous exploiterez pleinement la puissance du système CNC à 5 axes.
Le matériau que vous choisissez peut affecter considérablement les résultats d'usinage. Les matériaux communs pour l'usinage CNC à 5 axes comprennent:
Métaux : l'aluminium, l'acier et le titane sont couramment utilisés pour les pièces à haute résistance.
Plastiques : les polymères comme l'ABS et le PVC sont plus faciles à machine mais offrent toujours une bonne précision.
Composites : Des matériaux comme la fibre de carbone nécessitent des outils spécialisés mais sont parfaits pour les pièces légères et hautes performances.
Le choix du bon matériau assure une coupe plus fluide, une durée de vie des outils plus longue et une meilleure qualité de pièces.
L'exploitation d'une machine CNC à 5 axes nécessite des compétences spécialisées. Une formation appropriée est essentielle pour:
Comprendre les capacités et les limites de la machine.
Interpréter les modèles CAO et les traduire en logiciel CAM.
Gérer en toute sécurité les configurations complexes et assurer des normes de sécurité.
La formation garantit que les opérateurs peuvent obtenir les meilleurs résultats de la machine tout en minimisant les erreurs et en améliorant l'efficacité.
La principale différence entre les machines CNC à 3 axes et à 5 axes réside dans le nombre d'axes qui contrôlent le mouvement:
CNC à 3 axes : déplace l'outil de coupe le long de trois axes - x, y, z - allant des coupes de base dans une direction linéaire simple et linéaire.
CNC à 5 axes : En plus des trois axes linéaires, il comprend deux axes de rotation ( A et B ), permettant à l'outil de tourner et d'accéder à plusieurs angles.
Ce mouvement de rotation ajouté permet à la machine CNC à 5 axes de faire des coupes beaucoup plus complexes, de gérer les formes complexes et de réduire le besoin de plusieurs configurations. Ceci est essentiel pour les industries comme l'aérospatiale et le médical, où les pièces nécessitent une haute précision et plusieurs angles.
La machine CNC à 4 axes a un axe de rotation supplémentaire par rapport à une machine à 3 axes . Le quatrième axe tourne généralement autour de l' axe X (axe A), permettant à la pièce de tourner pendant que l'outil de coupe reste stationnaire. CNC à 4 axes : offre une plus grande flexibilité qu'une machine à 3 axes, mais nécessite toujours de repositionner la pièce pour les coupes des autres angles. CNC à 5 axes : fournit encore plus de mouvement en ajoutant un axe B supplémentaire , qui tourne autour de l' axe y . Cela élimine la nécessité de repositionner la pièce pendant l'usinage, ce qui permet de fabriquer des pièces plus complexes plus efficacement.
Alors que les machines CNC à 5 axes sont plus polyvalentes et plus précises, les machines à 4 axes sont généralement plus abordables et adaptées aux pièces avec des conceptions moins complexes.

Les machines CNC à 5 axes évoluent rapidement, grâce aux progrès des logiciels et du matériel. Le logiciel CAM est devenu plus intuitif, permettant aux opérateurs de programmer facilement des coupes complexes et d'optimiser les performances de la machine. Pendant ce temps, les améliorations matérielles des moteurs, des capteurs et des systèmes de refroidissement ont rendu les machines plus rapides, plus précises et plus économes en énergie.
L'automatisation et l'IA jouent également un rôle croissant dans l'avenir de l'usinage CNC. Les systèmes basés sur l'IA peuvent analyser et adapter les processus d'usinage en temps réel, augmentant l'efficacité et réduisant les erreurs. L'automatisation permet l'usinage lumineux, ce qui signifie que les machines peuvent fonctionner de manière autonome, augmentant davantage la productivité et réduisant les coûts de main-d'œuvre.
Chez RBT Intelligent Equipment , nous sommes à l'avant-garde de ces progrès technologiques. Avec plus de 24 ans d'expérience dans l'industrie de l'usinage CNC, nos machines CNC à 5 axes de pointe sont conçues pour répondre aux besoins des industries telles que l'aérospatiale, l'automobile et le médical.
L'avenir des systèmes CNC à 5 axes modifiera considérablement la fabrication moderne. Avec des améliorations continues des matériaux et des capacités machine, ces systèmes peuvent gérer des conceptions plus complexes et créer des pièces avec une plus grande précision. Les innovations dans les matériaux composites et les alliages légers permettent de produire des pièces haute performance qui étaient auparavant impossibles ou coûteuses à fabriquer.
La capacité des machines à 5 axes à produire des composants très complexes aura un impact durable sur des industries comme l'aérospatiale, les dispositifs médicaux et l'automobile. À mesure que les machines deviennent plus intelligentes et plus capables, elles permettront un prototypage plus rapide, une production de pièces personnalisées et une fabrication à volume élevé, remodelant la façon dont les industries abordent la conception et la production.
Le système de coordonnées CNC à 5 axes joue un rôle vital dans l'usinage de précision. Il offre une efficacité , de précision inégalée et une polyvalence dans diverses industries. En permettant des coupes complexes, il ouvre de nouvelles possibilités pour la production de pièces. Nous vous encourageons à explorer comment les systèmes CNC à 5 axes peuvent améliorer votre entreprise.
Contactez RBT pour plus d'informations ou pour demander une démo de nos machines CNC à 5 axes.
R: Des industries telles que Aerospace , Automotive , Medical et l'électronique bénéficient considérablement des machines CNC à 5 axes en raison de leur capacité à gérer les pièces complexes et à haute précision.
R: Les machines CNC à 5 axes peuvent gérer une large gamme de matériaux, y compris les plastiques , métaux et les composites , ce qui les rend polyvalents pour diverses industries.
R: Les pièces avec des géométries complexes et des coupes complexes, comme les composants du moteur , des lames de turbine et les implants médicaux , sont bien adaptés à l'usinage à 5 axes.
R: Les défis courants incluent la programmation de machines , de complexité de configuration et les exigences des compétences de l'opérateur , qui peuvent affecter l'efficacité et la qualité des pièces.
R: Le système CNC à 5 axes permet les coupes sous plusieurs angles, la réduction des erreurs, l'amélioration de la précision et l'élimination du besoin de repositionnement des pièces pendant l'usinage.